Воскресенье, 17 мая

Mercedes-Benz защитит пешеходов

9 августа '17
Mercedes-Benz защитит пешеходов

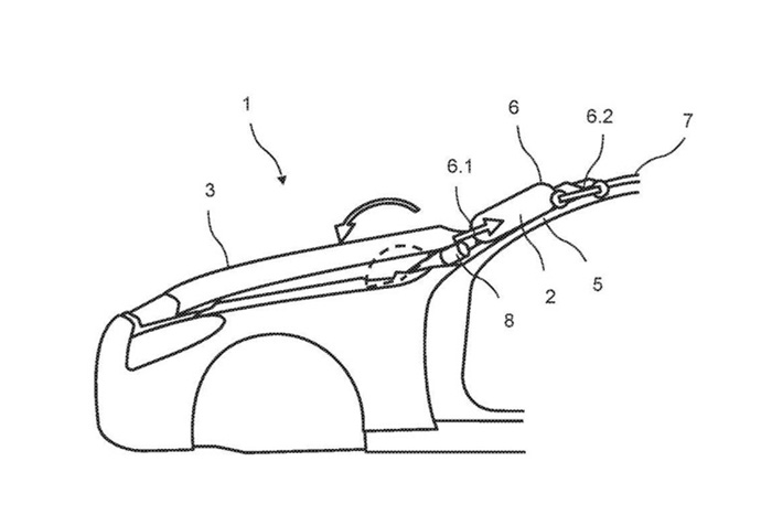
Компания Daimler разработала новые подушки безопасности, которые призваны защищать пешеходов.

Подушки безопасности при наезде на пешехода будут раскрываться вдоль боковых стоек, при этом капот будет приподниматься и  сдвигаться в сторону лобового стекла.

Ожидается, что уже в ближайшее время автомобили Mercedes-Benz будут комплектоваться новыми подушками.

Напомним, что компания Volvo уже серийно устанавливает на модель Volvo V40 подушку безопасности, расположенную в верхней части капота и позволяющую снизить травмы пешеходов при возникновении ДТП.

Подушки безопасности Mercedes-Benz

Другие новости